
MIL-PRF-81836/5B
NOTES:
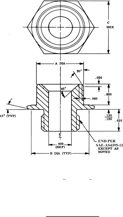
Dimensions are in inches, tolerances: decimals + .010, angles + 1o.
1.
2.
Remove all burrs and break sharp edges to 0.005 inch minimum.
3.
Drawing symbols per MIL-STD-100.
4.
The M81836/4-16 element and M81836/5-16 adapter shall be used with the Airforce
MIL-F-27656 type filter housing.
5. Additional dimensional data is listed in table I.
FIGURE 1. Configuration and dimensions.
2
For Parts Inquires submit RFQ to Parts Hangar, Inc.
© Copyright 2015 Integrated Publishing, Inc.
A Service Disabled Veteran Owned Small Business